Роботизированная сварка сложных корпусных изделий и конструкций

Комплекс УДС748 предназначен для дуговой сварки в среде CO2 (или смеси Ar + CO2) сложных ответственных корпусных конструкций с большим количеством коротких швов различным образом ориентированных в пространстве.

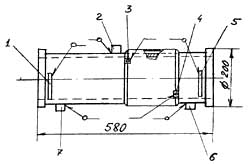
Базовый вариант исполнения комплекса ориентирован на сварку изделия типа "корпус охладителя".

 

Состоит из

  • промышленный робот РМ-01 с устройством управления "Сфера-36";
  • комплект сварочного оборудования;
  • двухпозиционный поворотный стол;
  • сварочная технологическая оснастка робота:
    - устройство очистки и смазки горелки;
    - устройство защиты горелки от поломки;
    - устройство установочной адаптации горелки;
    - пульт "горячего" редактирования режимов сварки и др.;
  • сборочно-сварочные приспособления;
  • пульт управления РТК;
  • колонна и платформа для размещения элементов РТК.

Технические характеристики РТК

Число степеней подвижности робота 6
Грузоподъемность робота, кг 2.5
Погрешность воспроизведения роботом программы перемещения, мм ±0.1
Максимальная контурная скорость робота, мм/с 500
Объем памяти устройства управления, кбайт 24
Хранение информации ОЗУ, ГМД
Число дискретных входов/выходов УУ 32/32
Диаметр стальной сплошной сварочной проволоки, мм 1.6
Грузоподъемность вращателя изделия, кг 80
Погрешность позиционирования поворотного стола, мм ±0.15
Габаритные размеры РТК, мм 4500х4000х3000

Особенности РТК

  • В каждой из двух позиций поворотного стола установлены вращатели свариваемых изделий, которые позволяют выполнять сварку упоров (поз.1 и 5 на чертеже), упорных (2, 6 и 7) и водяных (3 и 4) бонок в удобном положении путем поворота "корпуса" относительно его продольной оси в четыре фиксированные положения.
  • Применение двухпозиционного поворотного стола позволило совместить операции загрузки-выгрузки изделий с их сваркой роботом.
  • Время сварки роботом одного изделия - 4 мин. 20 с.
  • Чистое время сварки одного изделия - 2 мин. 46 с.

Внедрение

В 1999г.